 |
|
|
內蒙古博思達科技有限公司
地址:呼和浩特市大學西街110號豐業
大廈六樓
郵編:010020
電話:0471-6922249/6959871
傳真:0471-6911089
郵箱:info@m.11g37f.cn
網址:www.m.11g37f.cn
|
|
|
|
|
|
|
|
|
| |
| |
輔助設備 |
|
 |
您的位置> > 產品展示>輔助設備 |
|
|
|
|
FB系列挑選皮帶機
|
|
添加時間:2012/2/9
瀏覽次數:18742
作者:admin |
 |
|
|
|
|
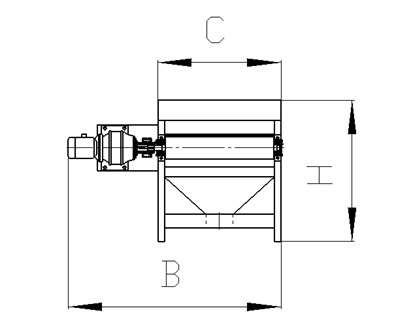
PB 系列挑選皮帶機 ☆用途 主要用于馬鈴薯、木薯、紅薯及其它塊莖狀物料的輸送; ☆結構特點 處理量大,輸送介質范圍寬;無震動、無噪音、體積小、能耗低; 除實現挑選外,還可實現除鐵和再次漂洗的作用; 結構簡單、易損件少,維護方便;
☆性能參數 | 規格型號 | 皮帶寬度(mm) | 線速度(m/s) | 電機功率(kw) | 處理量(t/h) | 凈重(kg) | | PB800 | 800 | 0.6 | 2.2 | 10-15 | 650 | | PB1000 | 1000 | 0.6 | 3.0 | 20-30 | 850 | | PB1200 | 1200 | 0.6 | 4.0 | 35-45 | 1050 | 附圖一 
附圖二 
☆主要外形尺寸: | 規格型號 | A | B | C | D | E | F | L | H | | PB800 | 4000 | 1573 | 910 | 690 | 300 | 1275 | 890 | 1040 | | PB1000 | 4400 | 1773 | 1110 | 800 | 300 | 1500 | 1000 | 1150 | | PB1200 | 5000 | 1973 | 1310 | 900 | 300 | 1500 | 1100 | 1250 | |
|
|
|
|
|
|